Web Analytics Made Easy - Statcounter

'94-'99 honda odyssey fuse diagram

If you are searching about 2004 Honda odyssey fuse box location you've came to the right place. We have 25 Pics about 2004 Honda odyssey fuse box location like Fuse Box Diagram Honda Odyssey 3g 4g And Relay With, 45% OFF, 2001 Honda Odyssey Fuse Box and also '94-'99 Honda Odyssey Fuse Diagram. Here it is:

2004 Honda Odyssey Fuse Box Location

2004 Honda odyssey fuse box location automotorpad.com

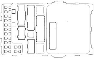
Honda Odyssey (2003 - 2004) - Fuse Box Diagram - Auto Genius

Honda Odyssey (2003 - 2004) - fuse box diagram - Auto Genius www.autogenius.info

odyssey fuse box fuses fusibles caja guru ampere

2004 Honda Odyssey Fuse Box Location

2004 Honda odyssey fuse box location automotorpad.com

Honda Odyssey (1999-2004) Fuse Diagram • FuseCheck.com

Honda Odyssey (1999-2004) Fuse Diagram • FuseCheck.com fusecheck.com

fuse odyssey fusibles diagrama rl1 fuses sicherungskasten fusecheck belegung sicherungen compartimento motor compartment

Decoding The Fuse Diagram For The 2004 Honda Odyssey: Your Go-To Guide

Decoding the Fuse Diagram for the 2004 Honda Odyssey: Your Go-To Guide techschems.com

Honda Odyssey (1999-2004) Fuse Diagram • FuseCheck.com

Honda Odyssey (1999-2004) Fuse Diagram • FuseCheck.com fusecheck.com

odyssey fuse honda 2004 1999 diagram location passenger box fuses under located side fusecheck dashboard pull edge open right cover

Honda Odyssey (1999-2004) Fuse Diagram • FuseCheck.com

Honda Odyssey (1999-2004) Fuse Diagram • FuseCheck.com fusecheck.com

odyssey fuse 1999 fusecheck dashboard

2004 Honda Odyssey Fuse Box Diagram - Handicraftsied

2004 honda odyssey fuse box diagram - Handicraftsied handicraftsied.blogspot.com

'94-'99 Honda Odyssey Fuse Diagram

'94-'99 Honda Odyssey Fuse Diagram knigaproavto.ru

honda diagram odyssey fuse box 1999 relay starter ra5 1994 ra1 drl daytime running lights unit control cut

2002 Honda Odyssey Fuse Box Diagram | Grontpabordet

2002 Honda Odyssey Fuse Box Diagram | Grontpabordet grontpabordet.blogspot.com

2004 Honda Odyssey Fuse Box Diagram - Handicraftsied

2004 honda odyssey fuse box diagram - Handicraftsied handicraftsied.blogspot.com

Honda Odyssey (2003 - 2004) - Fuse Box Diagram - Auto Genius

Honda Odyssey (2003 - 2004) - fuse box diagram - Auto Genius www.autogenius.info

honda fuse box odyssey diagram 2003 2004 compartment primary engine info protected ampere circuit rating number carknowledge

[DIAGRAM] 2006 Honda Odyssey Fuse Box Diagram - MYDIAGRAM.ONLINE

[DIAGRAM] 2006 Honda Odyssey Fuse Box Diagram - MYDIAGRAM.ONLINE mydiagram.online

How To Find The 2004 Honda Odyssey Fuse Box Diagram

How to Find the 2004 Honda Odyssey Fuse Box Diagram design1systems.com

2004 Honda Odyssey Fuse Box Location

2004 Honda odyssey fuse box location automotorpad.com

2004 Honda Odyssey Fuse Box Location

2004 Honda odyssey fuse box location automotorpad.com

'94-'99 Honda Odyssey Fuse Diagram

'94-'99 Honda Odyssey Fuse Diagram knigaproavto.ru

fuse box odyssey diagram honda compartment engine ra1 1994 ra5 1999

Honda Odyssey (1999-2004) Fuse Diagram • FuseCheck.com

Honda Odyssey (1999-2004) Fuse Diagram • FuseCheck.com fusecheck.com

fuse 2004 honda odyssey diagram 1999 box 2003 fusecheck

Honda Odyssey (2003 - 2004) - Fuse Box Diagram - Auto Genius

Honda Odyssey (2003 - 2004) - fuse box diagram - Auto Genius www.autogenius.info

odyssey fuse fuses circuit breaker 2000 fusibles 2002 guru carfusebox

2004 Honda Odyssey Fuse Box Diagram

2004 Honda Odyssey Fuse Box Diagram fixrepairhahn55.z19.web.core.windows.net

2001 Honda Odyssey Fuse Box

2001 Honda Odyssey Fuse Box diagrambox.netlify.app

fuse odyssey

2004 Honda Odyssey Fuse Box Location

2004 Honda odyssey fuse box location automotorpad.com

2004 Honda Odyssey Fuse Box Location

2004 Honda odyssey fuse box location automotorpad.com

Fuse Box Diagram Honda Odyssey 3g 4g And Relay With, 45% OFF

Fuse Box Diagram Honda Odyssey 3g 4g And Relay With, 45% OFF www.robles.edu.gt

'99-'03 Honda Odyssey Fuse Box Diagram

'99-'03 Honda Odyssey Fuse Box Diagram knigaproavto.ru

2004 honda odyssey fuse box location. 2004 honda odyssey fuse box diagram. Odyssey fuse 1999 fusecheck dashboard